填料塔的中心作業點
瀏覽: |
2020-05-13 11:53
填料塔凈化廢氣的中心作業點
填料塔中心點在于噴淋,即洗滌。相同以廢氣治理過程中運用的填料塔,其工藝是依據所治理廢氣的相關指標(溫度、成分、PH、粉塵量等)設定噴淋液的種類、流量巨細及噴淋頻率。為了到達較***的噴淋作用,其噴嘴數量一般比較多,塔徑巨細與治理廢氣的風量、工況等方面有關。
填料塔用途:廢氣吸收、凈化,煙氣除塵,降溫等。
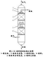
填料塔由塔體、填料、液體分布器、氣水分離器、噴淋系統、循環水泵、循環水池、藥液貯存投加系統等單元組成。
為了防止氣體攜走噴淋液,在塔***部氣水分離器,有用截留噴淋液。噴淋液循環運用,在運用過程中會有部分損失,坐落塔底的循環水箱當令補充噴淋液。
循環水量的調理:由填料塔供水泵來決議,當運轉一臺鍋爐時開一臺即可,當冬季兩臺或三臺同時運轉時,將兩臺水泵全部翻開,泥漿泵其流量應依據循環泵的流量來調理,使其持平即可。
填料塔是鍋爐煙氣采用石灰石濕法脫硫的***要的設備。用石灰石或石灰石粉作吸收劑,將石灰石塊或石灰石粉制成石灰石漿液,石灰石漿液經泵打入吸收塔與煙氣充沛觸摸,使煙氣中的SO2與漿液中的CaCO3進行反響生成CaSO4。

上一篇:填料塔簡介
下一篇:pp填料塔填料環的選擇



