填料塔與有機廢氣吸收塔的差異
瀏覽: |
2020-04-06 14:18
填料塔與有機廢氣吸收塔的差異
有機廢氣吸收塔一般指活性炭吸附塔,歸于廢氣吸收塔的一種,斷章取義是吸收有機廢氣凈化塔,他所吸收的有機廢氣包括苯、甲苯、二甲苯、 非甲烷總烴、VOCs(揮發性有機化合物)、 甲醇、 錫及其化合物等有機氣體。因此常常用在噴漆房廢氣凈化。
填料塔又叫酸霧吸收塔,歸于廢氣吸收塔的一類,他所吸收的酸霧包括硫酸霧(H2SO4)、硝酸霧(HNO3)、氯化氫(HCL)氣體、氟化氫(HF)氣體、鉻酸霧(CrO3)、氰氫酸(HCN)氣體、硫化氫(H2S)等。因此常常用在酸洗車間凈化。
有機廢氣吸收塔一般指活性炭吸附塔,歸于廢氣吸收塔的一種,斷章取義是吸收有機廢氣凈化塔,他所吸收的有機廢氣包括苯、甲苯、二甲苯、 非甲烷總烴、VOCs(揮發性有機化合物)、 甲醇、 錫及其化合物等有機氣體。因此常常用在噴漆房廢氣凈化。

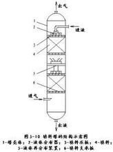
填料塔配有風機與水泵,一般是立式塔,用氫氧化鈉中和酸霧;有機廢氣吸收塔配有風機,不配水泵,一般是臥式塔,用活性炭吸收有機廢氣。
填料塔在終究的設備前要進行一次全面的防腐酸性檢查,如發現有缺損變形,應進行修補后再設備。吸收塔有必要設備在混凝土基礎上,與混凝土基礎水平線共同,組裝后的吸收塔有必要垂直。組裝吸收塔時,各部法蘭保證密封以防氣體溢出和漏液現象。填料塔設備完后,投入作業時應仔細檢查鏟除各循環系統等處的雜物和污垢,避免發生堵塞現象。運用吸收塔時,有必要有專人擔任辦理,定時檢查通風系統、液循環系統、噴液設備是否發生異常現象,如發現不***現象應及時處理,咱們的產品選用***的高科技填料,阻力丟掉少,比表面積***,化學反應完善,氣液比選用合理,吸收凈化效率高,耐腐蝕,耐老化性能***,便于設備維護等***色,如果在北方冬天運用應對塔體的底部水池部位進行防凍方法。



